Русский

003597 - Классики 500х500х30 коричневый

003597003597 - Классики 500х500х30 коричневый - фото превью 1
003597 - Классики 500х500х30 коричневый - детальное фото003597 - Классики 500х500х30 коричневый - фото пример 1
003597 - Классики 500х500х30 коричневый: цветовая схема 0
  • Стоимость: по запросу
Коврик резиновый для основания детских площадок предназначен для предотвращения травмирования детей и для игры «Классики».
Характеристики
  • Артикул: 003597
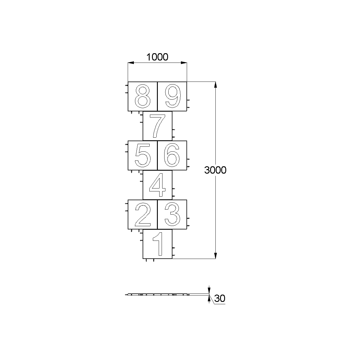
  • Габаритные размеры: 3000x1000x30 мм
План-схема: 003597 - Классики 500х500х30 коричневый
Описание
Характеристики
Материалы
Коврик резиновый для основания детских площадок предназначен для предотвращения травмирования детей и для игры «Классики». Коврик с цифрами 1,2,3,4,5,6,7,8,9 изготовлен из резиновых гранул, склеенных под давлением специальным полиуретановым клеем (биндером). Нижняя часть покрытия имеет рифленую поверхность для дренажа и прохождения влаги. Друг с другом коврики соединяются пластиковыми трубками-соединителями.
  • Артикул: 003597
  • Габаритные размеры: 3000x1000x30 мм
резиновая крошка, клей, пигмент.
Изделия данного раздела