Русский

006651 - Мультиспортарена мини

006651006651 - Мультиспортарена мини - фото превью 1
006651 - Мультиспортарена мини - детальное фото006651 - Мультиспортарена мини - фото пример 1
Добавить в избранное
006651 - Мультиспортарена мини: цветовая схема 0
  • Стоимость: по запросу
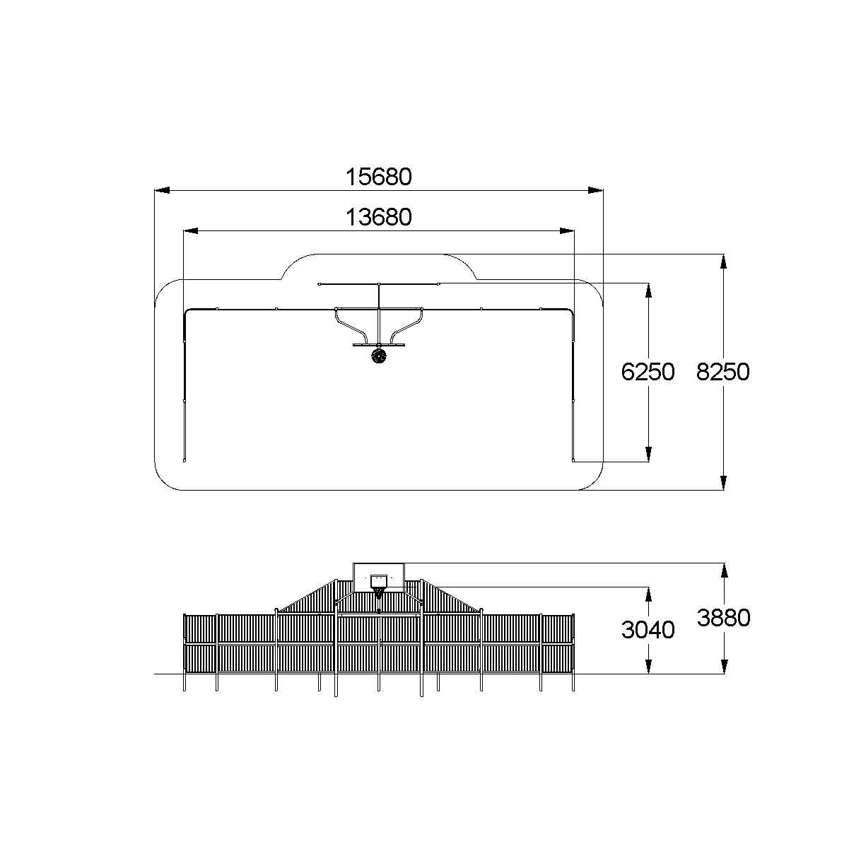
Мультиспортарена мини должна представлять собой устойчивую конструкцию, состоящую из игрового поля, несущих стоек, ограждений по периметру, секции с баскетбольным щитом и секции для футбола.
Характеристики
  • Артикул: 006651
  • Габаритные размеры: 13670x6255x3885 мм
План-схема: 006651 - Мультиспортарена мини
Описание
Характеристики
Материалы
Мультиспортарена мини должна представлять собой устойчивую конструкцию, состоящую из игрового поля, несущих стоек, ограждений по периметру, секции с баскетбольным щитом и секции для футбола.Несущие стойки должны быть выполнены из металлической профильной трубы сечением не менее 80х80 мм.Ограждение тип 1 верхнее должно состоять из трех стоек и двух перекладин, выполненных из металлической трубы диаметром 26 мм и заполнения из металлической трубы диаметром 16 мм.Ограждение тип 2 верхнее угловое должно состоять из двух стоек и двух перекладин, выполненных из металлической трубы диаметром 26 мм и заполнения из металлической трубы диаметром 16 мм.Ограждения тип 3 нижнее должно состоять из двух перекладин и двух стоек выполненных из металлической трубы диаметром 33,5 мм и заполнения из металлической трубы диаметром 21 мм.Ограждения тип 4 нижнее угловое должно состоять из двух перекладин и двух стоек выполненных из металлической трубы диаметром 33,5 мм и заполнения из металлической трубы диаметром 21 мм.Ограждения тип 5 треугольное должно состоять из трех перекладин, выполненных из металлической трубы диаметром 26 мм и заполнения из металлической трубы диаметром 16 мм.Ограждения тип 6 должно состоять из металлической трубы диаметром 33,5 мм и заполнения из металлической трубы диаметром 21 мм.Баскетбольный щит должен состоять из кронштейна, щита длиной не менее 1800 мм и высотой не менее 1050 мм, выполненного из влагостойкой фанеры толщиной не менее 21 мм и металлического кольца баскетбольного с капроновой сеткой. Кронштейн и раскосы из трубы диаметром 60 мм. Каркас щита выполнен из уголка 50х50мм и трубы профильной 50х25мм.На игровом поле должны быть нанесены маркировочные линии.
  • Артикул: 006651
  • Габаритные размеры: 13670x6255x3885 мм
  • Ширина Зоны Безопасности (мм): 8255
  • Длина Зоны Безопасности (мм): 15680
Металлические элементы должны быть покрыты порошковыми красками или подвергнуты гальванизации. Сварные швы должны быть гладкими и исключать возможность травмирования пользователей при контакте. Металлические элементы конструкции не должны состоять из нескольких частей, соединенных между собой.Весь крепеж должен быть оцинкован, все углы закруглены радиусом не менее 3 мм. Концы труб должны быть закрыты.Фанера влагостойкая не ниже I сорта изготовленная из шлифованного березового шпона повышенной водостойкости, склеенного клеем класса эмиссии Е1 с предварительной заделкой (замазкой или вставками) естественных дефектов древесины.Материалы из древесины не должны иметь на поверхности дефектов обработки. Промежутки и стыки между элементами оборудования не должны допускать застревания частей тела и одежды пользователей. В конструкции должна быть предусмотрена возможность доступа взрослого при обстоятельствах, требующих посторонней помощи пользователю.C целью повышения качества и безопасности продукции, в документацию на изделие могут вноситься изменения (изображение, размеры, и т.п.).
Изделия данного раздела